輸送系列
0373-2688775
產品概述:
HB型鏈板、鏈斗式輸送機是一種固定輸送設備,該系列輸送機有如下特點:
1、適應性強,本機適用于不帶粘性的散狀物料及粒狀、塊狀物料的輸送,尤其適用于塊狀較大,且具有鋒利棱角,灼熱的(如水泥熟料等)物料的輸送,而且在輸送過程中可同時完成冷卻、清洗等工藝過程;
2、整機裝置緊湊、安裝、調試、維修方便;
3、鏈板、鏈斗結構合理、剛性好,耐沖擊性強;
4、以滾動磨擦代替滑動磨擦、運行阻力低;
5、鏈板機適用0°~15°傾角,鏈斗機輸送傾角大可達45°;
6、輸送距離≤30m時,可采用環(huán)鏈及板鏈作牽引件,輸送距離>30m時,為防止滑動,需采用板鏈作牽引件。
技術參數:

外形結構:
1、鏈板機板沿高一般為80~120mm,視輸送物料及輸送量在設計時可適當變動,其物料是連續(xù)在鏈板上存放,為防止其過多漏料,其上傾角度一般不大于15°,其外型結構見下圖。
2、鏈斗機的物料是存放在單鏈斗里進行輸送,其在輸送過程中,依靠重力及滾輪作用,鏈斗總處于水平狀態(tài),故其可用于較大傾角輸送物料過程,其大上傾角可達到45°,共外型結構見下圖。
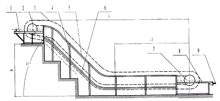
HB鏈板式輸送機結構示意圖:

HB鏈斗式輸送機結構示意圖:

1、頭部 2、動力驅動鏈輪組 3、運載組件 4、傾斜中間支部 5、上道軌 6、下道軌 7、尾部鏈輪組 8、尾架 9、絲杠拉緊裝置
注意事項:
1、鏈斗機、鏈板機主要用于輸送磨損強,溫度高的物料,用戶訂貨時需注明型號,兩輪中心距,傾斜角度,大輸送量等工藝參數。
2、動力裝置在鏈斗(板)機頭部、左、右裝可根據用戶要求變動。
3、輸送速度以8~10m/min為宜,太低影響輸送量,太高噪音大,磨損增大。且HB800、HB1000適宜輸送堆密度較小的物料。
公司產品廣銷全國多個省市地區(qū),產品獲得廣大客戶好評
秉持“專一、專注”的精神,提供匠心產品,服務全球千萬用戶
實力雄厚 · 設備優(yōu)良 · 質量保證 · 用戶至上 · 合作共贏
0373-2688775
掃一掃 關注我們